精确检索
开始检索
还在人工检索法规吗?体验一下税谱AI
快速定位属地法规库;自动识别过期、废止、疑义条款;排除网络干扰
还在人工检索法规吗?体验一下税谱AI
快速定位属地法规库;自动识别过期、废止、疑义条款;排除网络干扰

上海市规划和自然资源局关于印发《上海市建筑面积计算规划管理规定》的通知

上海市规划和自然资源局关于印发《上海市建筑面积计算规划管理规定》的通知
沪规划资源建〔2021〕363号

各区规划资源局、各派出机构:

   为加强本市建设工程管理,规范规划资源管理中建筑面积的计算,制定《上海市建筑面积计算规划管理规定》。现印发给你们,请认真组织实施。

                                 上海市规划和自然资源局

                                 2021年9月29日

  上海市建筑面积计算规划管理规定

  第一条(目的、依据)

  为了加强国土空间规划管理,进一步规范规划管理中建设工程的建筑面积计算,现根据《建筑工程建筑面积计算规范》(GB/T50353-2013)等国家和本市有关规定,结合本市实际情况,制定本规定

  第二条(适用范围)

  本市行政区域内各项建设工程在建筑设计和项目申报、审批、竣工测量、竣工规划资源综合验收等管理中涉及建筑面积计算的,应当遵守本规定。

  第三条(基本原则)

  建筑面积计算应当符合法律、法规以及国家和本市的技术标准和相关规定。

  各项建设工程设计应符合国家和本市的相关建筑设计规范和标准,不得随意虚构设计平面用途及性质。

  建设单位(个人)、设计单位应当按照诚信原则,规范建筑面积计算,如实申报送审材料。

  第四条(建设工程建筑面积的计算)

  建设工程建筑面积的计算,应执行国家标准《建筑工程建筑面积计算规范》(GB/T50353-2013)。

  第五条(核计容积率时建筑面积的计算)

  在计算容积率时,除法律、法规、技术标准和相关规定有明确的建筑面积计算方法的,建设工程的建筑面积按照以下规则计算:

  (一)设备层、避难层和设备管道夹层

  设备层指建筑物中专为设置暖通、空调、给水排水和配变电等设备和管道且供维修人员进入操作使用的楼层。

  避难层指建筑高度超过100米的高层建筑,为消防安全专门设置的供人们疏散避难的楼层。

  高度在2.2米以下(含2.2米)的设备层,其建筑面积不计入容积率;高度在2.2米以上的设备层,其建筑面积应计入容积率。对设备层兼作避难层的,其高度可适当放宽,但超过该建筑标准层高度的,其建筑面积应计入容积率;设备层兼作避难层中存在其他非避难空间的(如楼梯间、电梯井、其他功能性用房),该部分非避难空间的建筑面积应计入容积率。

  设备管道夹层指建筑物内单层空间中仅为安排设备管道的楼层。设备管道夹层,高度在2.2米以下(含2.2米)的,不计算建筑面积;高度在2.2米以上的,应按其外墙结构外围水平面积计算建筑面积并计入容积率。

  (二)地下室

  地下室符合以下条件的,其建筑面积不计入容积率,否则其建筑面积应计入容积率:

  房间地平面低于室外地平面的高度超过该房间净高的1/2,地下室在室外地面以上部分的高度不超过1米,且除地下车库的情形外只能通过垂直交通(电梯、楼梯)进入室内。

  建筑物的室外地面标高,应当符合控制性详细规划的要求。控制性详细规划中未明确规定的,基地内又无法采用统一的室外地面标高以及其他确需构筑地形的,应综合考虑该地区城市排水设施情况和附近道路、建筑物标高,通过编制修建性详细规划确定室外地面标高。

  控制性详细规划、修建性详细规划均未明确规定的,建筑物的室外地面标高一般以周边相邻的城市道路中心线标高为基准加上0.3米。

  建筑物室外地面标高不一致的,以较低的标高作为该建筑物的室外地面标高。

  地下室设置通风采光井以改善地下室室内环境的,通风采光井宽度(取采光井围护结构外围至地下室外墙面的最大垂直距离)不宜超过1.8米(含1.8米)。超过1.8米的,采光井地坪标高视作该建筑的室外地坪标高。

  (三)商业、办公建筑的层高

  商业、办公建筑标准层层高不宜超过4.5米。标准层层高超出4.5米 的,按每2.8米为一层、余数进一的方法折算该层建筑面积,并按折算的建筑面积计入容积率。

  商业、办公建筑的门厅、大厅、回廊、走廊等公共部分,影院、剧场、体育馆、博物馆、展览馆等公共建筑,大型商业建筑的层高不受本项前款规定限制。

  (四)阳台

  阳台符合以下条件的,阳台面积按其水平投影面积的1/2计入容积率;否则,应按其水平投影面积的全面积计入容积率:

  阳台的设计进深(取阳台围护结构外围至外墙面的最大垂直距离)不超过1.8米(含1.8米),且其水平投影面积小于或者等于8平方米的。

  保障性住房阳台的计算按照本市有关规定执行,不受本项前款规定限制。

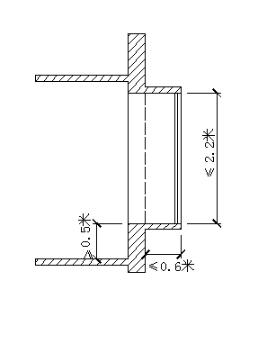
  (五)飘窗

  飘窗符合以下条件的,不计算建筑面积;否则,应按挑出外墙部分的投影面积计算建筑面积并计入容积率:

  飘窗台面与室内地面的高差应不小于0.5米,飘窗高度应不超过2.2米,且自外墙墙体结构外边线至飘窗外边线距离不超过0.6米。

建设项目含有飘窗设计的,应在申报图纸中提供飘窗详图。

  (六)装饰性阳台、花池、空调室外机搁板(箱)等

  装饰性阳台是指设置在建筑外墙外,与建筑内部空间及阳台不相连通的,采用阳台形式的装饰性构件。进深小于或者等于0.6米的装饰性阳台,不计算建筑面积;否则,应按照本条第(四)项关于阳台的规定执行。

  花池、空调外挂机搁板、结构板等突出建筑外墙、无围护结构且进深小于或者等于0.6米的,不计算建筑面积。花池、空调外挂机搁板、结构板等如有围护结构或位于房屋建筑结构围合范围以内或进深大于0.6米的,则应按其水平投影面积计算建筑面积并计入容积率。

  (七)其他

  住宅分户门、房屋建筑结构围合范围以内的建筑空间,均属套内使用空间,除设计规范有规定外,均应按其水平投影面积计算建筑面积并计入容积率。

  第六条(审核要求)

  规划资源部门在审核建设工程设计方案时,应当审核有关建设工程的建筑面积计算资料,包括《单幢建筑物建筑分层面积表》(附表1)和《建筑面积汇总表》(附表2)。

  第七条(解释)

  本规定系根据国家和本市既有相关规定的具体应用作出进一步规范,由上海市规划和自然资源局解释。

  建设项目在审批和竣工规划资源综合验收时,出现现行计算规范适用问题的,各区及派出机构规划资源部门应向上海市规划和自然资源局及时请示,不得擅自解释、违规核准。

  第八条(施行日期)

  本规定自印发之日起施行。

  附表:1.单幢建筑物建筑分层面积表

  2.建筑面积汇总表


来源:上海市规划和自然资源局官网 日期:2021-09-29 有效范围: 上海